De PlayStation VR is een virtual reality-headset die sinds oktober 2016 te verkrijgen is. Sony noemde de headset ten tijde van de presentatie de toekomst van games, echter blijkt de interesse in het systeem toch minder groot te zijn dan gedacht. Er zijn inmiddels meer dan twee miljoen exemplaren van de headset verkocht, echter zijn er al bijna 80 miljoen PS4-consoles geleverd. Ondanks de tegenvallende verkoopcijfers zijn we nog steeds onder de indruk van de technologie, hoewel er op het gebied van besturing in games nog voldoende is te verbeteren.
Controller met camera
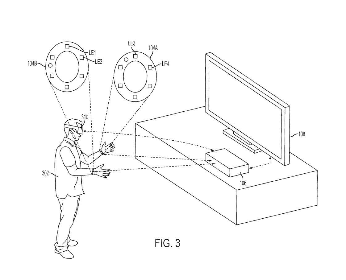
Dat lijkt Sony ook zelf te beseffen, want in de database van het WIPO (World Intellectual Property Organization) zien we dat het bedrijf een patent (US20180011545) heeft ingediend voor een geheel nieuwe controller. Huidige systemen volgen de hand van een gebruiker door middel van een controller die wordt vastgehouden, zoals een Move- of DualShock 4-controller in het geval van de PlayStation 4. Het gebruik van een controller heeft als grootste nadeel dat het niet alle hand- en vingerbewegingen kan volgen.
In het patent beschrijft Sony een nieuwe controller die de gebruiker om zijn polsen moet worden gedragen. Sony heeft in de controller een camera verwerkt en de camera van de linkerpols legt de beeldgegevens vast die behoren bij de rechterhand van de gebruiker, en vice versa. Deze data wordt naar de PS4 gestuurd voor het bepalen van een positie of oriëntatie van beide armen. Het wordt dankzij de door de camera vastgelegde beeldgegevens mogelijk om de vinger van een virtuele hand individueel te bewegen. Daarnaast kun je de tracking nog verder uitbreiden door de controller om je enkels te dragen, waardoor ook je benen realistischer bewegen in de game.
Het indienen van een patent hoeft overigens niet te beteken dat Sony ook daadwerkelijk van plan is om een dergelijke controller binnenkort op de markt te brengen. Desalniettemin lijkt het voor virtual reality een betere oplossing te zijn dan het vasthouden van een reguliere controller, waardoor je toch minder het gevoel hebt je te bevinden in een andere wereld. Voorlopig zullen we nog even moeten afwachten of deze nieuwe controllers voor de PlayStation VR werkelijkheid gaan worden.




